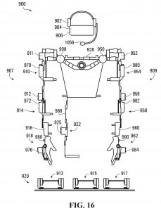
1png-pngKindred est un projet de système de robotique et télérobotique reposant sur l’IA et notamment sur l’ordinateur quantique D-Wave. A la tête de cette nouvelle startup se trouvent Geordie Rose, également président de D-Wave, et Suzanne Gildert, une ex-chercheuse de cette société. Le but de Kindred sera de multiplier les capacités de travail d’un être humain, nous explique Next Big Future. Au centre du système se trouvera une espèce de combinaison que revêtira l’opérateur. Le but de cet harnachement est de capter l’ensemble des mouvements du sujet. « Un peu comme dans les systèmes de « motion capture » utilisé dans les films d’animation, mais cette fois-ci pour enregistrer les données biométriques et les envoyer à une IA à des fins d’analyse et d’apprentissage ». Un casque se chargera d’enregistrer les ondes cérébrales.

Une fois cet apprentissage effectué, un algorithme pourra être transmis à des robots qui seront alors en mesure de reproduire le comportement de l’opérateur humain d’origine.

Le même système pourrait être utilisé pour de la téléopération, mais pourrait, toujours selon le site, aller plus loin que l’action classique à distance pour permettre un système proche de celui imaginé dans le film Avatar… Nous transporter à distance dans le corps d’un autre !

À lire aussi sur internetactu.net